načrtovanje
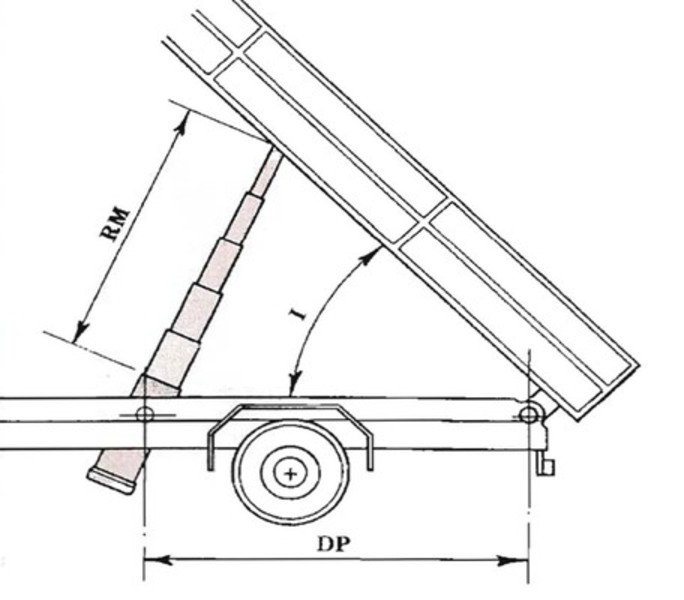
Delovni hod kiper cilindra za prikolico si lahko določite po spodnji sliki.
prva prikazuje dolžino vpetja cilindra od previsne točke in glede na to si delovni hod določite po drugi sliki, glede na željeni kot nagiba kesona kiper prikolice.





